负债千亿!苏宁宣告破产!
一代零售巨头苏宁
走向落幕
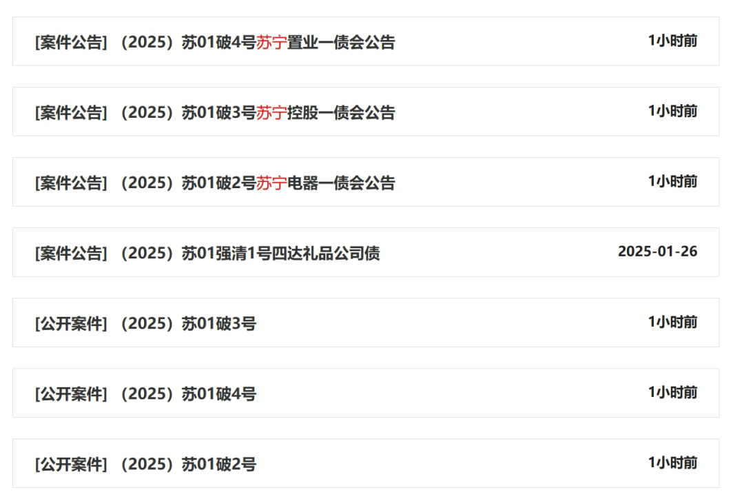
2月7日,全国企业破产重整案件信息网发布苏宁电器集团、苏宁控股集团、苏宁置业集团破产重整案件信息与一债会公告,三家公司于2025年1月26日由南京中院受理破产重整安全理财产品。


苏宁集团,曾是中国最好的零售商业之一安全理财产品。截至目前, 张近东已经执掌这个庞大的商业帝国长达 30余年,苏宁也从一家空调专营门市部发展到综合电器连锁,到互联网,线上零售平台,直至拥有线上线下各种类型的零售渠道。除了零售主业外,苏宁的投资版图更是遍布地产、物流、体育、电竞等行业。
苏宁电器集团和苏宁控股集团分别都是苏宁易购的股东安全理财产品。 截至2025年1月,苏宁电器集团持有苏宁易购1.4%的股份,苏宁控股集团持有2.75%的股份。苏宁电器集团和苏宁控股集团并非苏宁易购的控股股东或实际控制。
展开全文


根据公告,苏宁由于债务压力巨大、现金流紧张,不得不申请破产重整安全理财产品。简单来说,就是苏宁“钱不够了“,需要通过法律程序重新整理债务和资产,以求“活下去“。
苏宁为什么会走到这一步安全理财产品?
1.过度扩张的“后遗症”:苏宁近年来在零售、地产、金融等多个领域大举扩张,但很多业务并未带来预期收益,反而拖累了现金流安全理财产品。
2.电商冲击和自身转型不力:传统零售行业被电商冲击,苏宁虽然也尝试转型线上,但效果并不理想,市场份额逐渐被阿里、京东等巨头蚕食安全理财产品。
3.债务“滚雪球”:苏宁的债务规模越来越大,尤其是去年以来,多次传出“债务违约“的消息,最终导致资金链断裂安全理财产品。
据悉,截至2023年年报, 苏宁电器资产总额为1249.6亿元,归母净利润为-57.03亿,负债总额为1344.79亿元,同比下降了-5.71%安全理财产品。
来源:中国经济网、苏宁易购公告、21世纪经济报道、九派新闻、中国证券报
本报法律顾问:山东汇研律师事务所 王读文







评论